Samir Amin menawarkan satu analisis ‘global history’ dengan pendekatan ekonomi politik kritis yang membantah dominasi Eropa (Eurosentrisme) atas sejarah dunia.
Era kontemporer berlangsung di bawah sistem kapitalisme global atas dasar dominasi Eropa yang diawali dari kolonialisme sejak abad 16 M. Era ini banyak disebut sebagai kemunculan ekonomi modern dengan perkembangan kepentingan akumulasi kapital.
Namun bagi Samir Amin era kontemporer menyisakan ketidaksetaraan dan dominasi yang tak tertahankan serta merugikan. Buku berjudul “Global History: A View from the South” merupakan salah satu karya Samir Amin dalam mengkritik struktur ekonomi politik kontemporer.
Samir Amin mengajukan suatu sistem dalam sejarah global yang lebih berkelanjutan alih-alih pembangunan dan kemajuan ekonomi politik struktural era kontemporer ini.
Samir Amin juga menginginkan studi anad ke-20 dan ke-21 mengarah pada kemunculan dan kebangkitan masyarakat dan bangsa-bangsa yang dianggap berada dalam pinggiran sistem kapitalisme global kontemporer ini.
Buku ini akan menemukan relevansi yang tepat bagi studi dekolonisasi dalam sejarah global. Dunia global sebelum kemunculan kolonialisme Eropa merupakan dunia yang cair yang menghubungkan berbagai kawasan dalam pertukaran pengetahuan dan kebudayaan.
Hal ini akan ditunjukkan oleh Samir Amin bahwa masyarakat atau bangsa yang kini dipandang sebagai pinggiran, mereka adalah pusat-pusat peradaban yang berlangsung secara berkelanjutan selama 2000 tahun penaklukan dunia oleh Eropa.
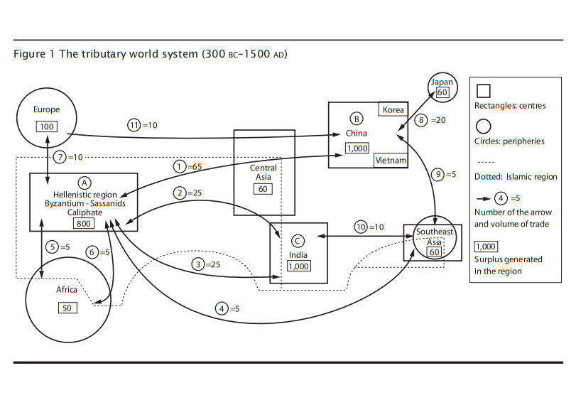
Sistem ‘Tributary’ di Asia Tengah dan Timur Tengah
Sebelum era kolonialisme Eropa setidaknya abad 16 M, masyarakat global membentuk peradabannya dengan sistem yang disebut oleh Samir Amin sebagai ‘Tributary’. Sistem ini berlangsung dalam dunia global dengan kesamaan karakteristik.
Bentuk masyarakat ini berbeda dengan masyarakat bentuk kapitalisme modern. Periode ini berlangsung selama hampir 20 abad, sejak sebelum masehi hingga abad 15 M. Selama itu jelas berlangsung evolusi di antara masing-masing wilayah dan juga dalam perdagangan luar negeri mereka.
Dunia global pada masyarakat ‘Tributary’ dapat dipetakan menjadi wilayah sentral serta wilayah periferi (pinggiran). Meski begitu, pembagian wilayah sentral dan pinggiran ini tidak mengartikan suatu ketimpangan seperti yang terjadi dalam sistem kapitalisme global.
Wilayah sentral dan pinggiran ini menunjukkan suatu sistem dengan hubungan vasal dan peran otoritas di antara mereka berdasarkan jumlah populasi, jumlah produksi, perkembangan pengetahuan, serta surplus ekonomi. Hubungan ini justru memberikan kesempatan bagi masing-masing masyarakat untuk mengembangkan dirinya.
Wilayah-Wilayah Sentral dan Periferi
Wilayah-wilayah sentral di antaranya ialah Cina, India, Asia Tengah, dan Timur Tengah. Cina merupakan wilayah pusat atau sentral terpenting, yang juga paling berkesinambungan sepanjang periode ini.
Cina memiliki penduduk sebesar 70 juta di awal masehi atau setara dengan 28 persen penduduk dunia yang berjumlah 250 juta. Jumlah populasi berkembang secara regular hingga mencapai 200 juta penduduk di tahun 1700 (28 persen dari total populasi dunia yang berjumlah 680 juta).
Perkembangan aspek demografi Cina berlangsung secara berkelanjutan hingga tahun 1700-1800 mencapai 330 juta penduduk (35 persen dari total populasi dunia yang berjumlah 950 juta).
Dengan pengukuran di atas Cina menjadi masyarakat yang paling maju selama masa ‘Tributary System’, sekaligus menjadi contoh masyarakat maju. Cina memiliki produktivitas pertanian yang terbesar, jumlah kota terbesar yang menyediakan basis untuk populasi administratif, serta pengrajin yang terampil.
Cina juga memiliki volume perdagangan luar negeri yang tinggi. Selama periode tersebut, Tiongkok mempertahankan hubungan yang erat, terus-menerus dan substansial dengan wilayah pusat atau sentral lainnya yaitu Timur Tengah. Volume perdagangan antar kedua wilayah ini mencapai dua pertiga (65 persen) dari seluruh perdagangan Tiongkok.
Hubungan perdagangan antara Cina dan Timur Tengah berlangsung erat. Hubungan ini menghasilkan suatu karakteristik luar biasa dari sistem relasi antar kawasan. Terjadi pertukaran barang, komoditas, agama, pengetahuan, dan teknologi.
Timur Tengah sejak masa kuno merupakan wilayah pusat perdagangan baik darat maupun laut/maritim. Kawasan ini berperan penting sebagai perantara antara wilayah yang berada di timur dan barat. Timur Tengah memiliki posisi geografis yang berada di tengah, sebagai perantara wajib untuk hampir semua perdagangan lintas benua.
Timur Tengah menjadi perantara perdagangan barang impor yang datang dari Cina dan India begitupun dari Eropa. Barulah pada abad ke-13 M, pertama kalinya terjadi hubungan langsung antara Cina dan Eropa dengan jalur darat.
Meskipun sebagai wilayah sentral yang penting, perkembangan jumlah populasi di Timur Tengah cenderung berbeda dengan Cina dan juga India. Hal ini dikarenakan posisi Timur Tengah yang strategis dan menjadi wilayah perebutan yang berimplikasi pada terjadinya perang dan penaklukan.
Tahun 200 SM populasi Timur Tengah berjumlah 50 juta, tetapi di awal masehi populasi tersebut menurun menjadi 35 juta. Pada tahun 1500 jumlah populasi tidak melebihi 50 juta dibandingkan dengan lebih dari 200 juta di Cina dan lebih dari 200 juta di India pada tahun 1700.
Asia Tengah merupakan jalur penghubung antara pusat-pusat utama, terutama antara Tiongkok dan Timur Tengah. Faktanya, Asia Tengah secara kasar dibagi oleh pegunungan Tian Shan menjadi wilayah selatan (Jalur Sutra yang sebenarnya) dan wilayah utara yang hanya pernah menjadi marjinal dalam pertukaran Timur-Barat, yang telah intensif setidaknya sejak abad ke-6 SM.
Bagian selatan dari wilayah ini dengan sendirinya dapat dibagi menjadi tiga sub-wilayah yang berbeda: Turkestan timur (wilayah otonomi Cina di Sinkiang), Turkestan barat, di sebelah selatan Kazakhstan, dan Afghanistan. Dua pertiga dari arus perdagangan yang melintasi Asia Tengah, yang berhubungan dengan perdagangan Tiongkok-Timur Tengah, selalu mengambil rute yang sama.
India merupakan pusat populasi dan peradaban selanjutnya dalam ‘Tributary System’. Sangat awal sejak milenium 3 SM, yaitu periode yang sama dengan Mesir dan Mesopotamia dengan peradaban Lembah Sungai Indus.
India juga dinilai sebagai kawasan yang memiliki pengalaman dalam memerantai perdagangan. Mereka memiliki populasi 45 juta di awal masehi dan 200 juta pada tahun 1700. Kemudian stagnan tidak ada peningkatan hingga 1800 dan sepanjang abad ke-19.
Surplus yang dihasilkan di India memiliki indeks yang sama dengan Cina karena produktivitas pertaniannya yang tinggi dan kota-kotanya yang berkembang pesat. Namun India tidak lebih terbuka daripada Cina. Perdagangan India berlangsung dengan Timur Tengah maupun dengan wilayah Barat, sebagian melalui darat sebagian lagi melalui laut.
Eropa, Afrika, serta Asia Tenggara dan Jepang dinilai sebagai wilayah-wilayah periferi/pinggiran dalam analisis sejarah global Samir Amin. Wilayah-wilayah ini dinilai tidak berkontribusi besar terhadap jumlah populasi dunia dan surplus ekonomi yang dilakukan.
Eropa tidak berpartisipasi dalam perkembangan umum sistem ‘Tributary’ sampai setelah tahun 1000. Hingga saat itu, Eropa masih merupakan daerah pinggiran yang terbelakang. Pada awal masehi, populasi Eropa hanya 20 juta, lebih rendah dibanding Cina dan Timur Tengah.
Pertumbuhan populasi di Eropa juga berjalan lambat, namun kenaikannya terbilang cepat. Pada tahun 1000-1350 populasi meningkat 80 juta. Kemudian berkurang menjadi 60 juta pada tahun 1400 (karena Wabah Hitam), tetapi meningkat lagi hingga mencapai 120 juta pada tahun 1700 (18 persen dari dari populasi dunia, yang berjumlah 950 juta). Populasi Eropa kemudian mulai meningkat dengan cepat, meledak pada abad ke-19.
Sampai tahun 1000 produktivitas pertanian Eropa sangat kecil dan tidak memiliki kota. Hal ini berlangsung hingga tahun 1492 atau abad ke-15 M di mana Eropa memulai dunia hegemoni kapitalisme Eropa modern, yang merepresentasikan pusat baru.
Selama sekitar 15 abad sebelum masa ini, Eropa hampir tidak ada dalam sistem dunia. Pada masa itu produktivitas yang rendah membuat Eropa tidak menyumbang banyak kontribusi dalam surplus perekonomian. Volume perdagangan luar negeri Eropa rendah bahkan selama 4 abad dari abad 11-15 M.
Asia Tenggara juga menjadi periferi sama halnya dengan Eropa dan Afrika Sub-Sahara. Kemudian tumbuh lebih dulu daripada Eropa dengan Hinduisasi yang dilanjutkan dengan Islamisasi yang mengantarkan kawasan ini terhubung dengan India, Cina, dan Timur Tengah. Pertumbuhan ini tidak terputus secara brutal hingga abad ke-16 ketika hegemoni maritim Eropa mulai memutuskan hubungan komersial lama.

















